Apple is laying the groundwork for a phone camera that freezes the whole scene in one instant. That is a global shutter. And a brand new patent confirms this. It means cleaner motion, fewer flicker bands, and a more professional look for video. Here is the easy version that anyone can follow.

The takeaway in 1 minute
Think of a referee yelling “freeze.” Everyone stops at the same time. The camera then writes down what it sees. Because the freeze happened together, straight lines stay straight. Light from LED walls and stage lights behaves better. ‘Flash’ shoots matches more easily. Here are some of the principles.
-
Rolling shutter reads the image line by line. Fast motion bends straight things and creates wobble.
-
Global shutter grabs every pixel at the same moment, then reads it calmly afterward.
-
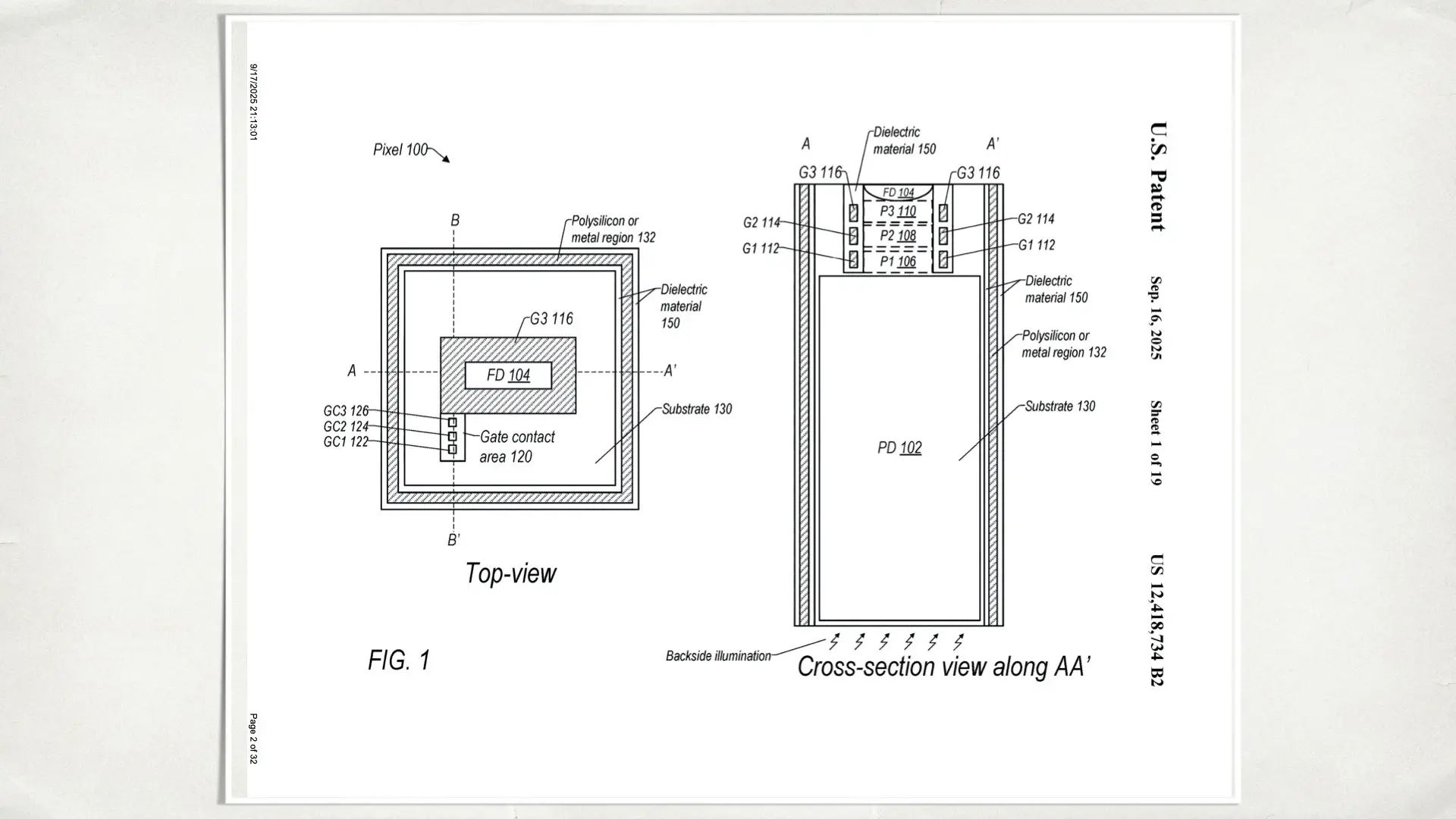
Apple’s patent shows a tiny “waiting room” inside each pixel so the phone can freeze the whole frame at once. That is the big idea. Explore the scheme below based on that application:

What Apple patented in plain English
Picture each pixel as a 3-floor stack.
-
Floor 1 is the light catcher.
-
Floor 2 is a small waiting room.
-
Floor 3 is the tiny meter that turns the light into numbers.
How it works. During exposure, Floor 1 fills. At the freeze moment, every pixel moves its light from Floor 1 into Floor 2 at the same time. Now the whole frame is locked. Then, row by row, the phone moves that saved light from Floor 2 to Floor 3 to create the picture. That middle floor is the secret. It gives each pixel its own parking spot for the frozen image.


What is different in Apple’s approach
-
Build upward, not sideways. Many designs put the waiting room next to the light catcher. That steals space and light. Apple stacks the path vertically, which keeps more area for light.
-
One part does two jobs. The middle layer stores the image and also helps move it. That keeps the pixel compact and phone friendly.
-
Less stray light in the freeze. The patent describes shields and trenches that protect the waiting room while the shutter is “closed.” Cleaner freeze. Cleaner image.
-
Phone scale details. The drawings include backside illumination and split pixels for autofocus. These are the tools of dense smartphone sensors, not bulky lab parts.

Why this is a big deal for iPhone video and mobile filmmakers
-
Fast motion looks natural. Whip pans. sports. dance. car shots. straight lines stay straight.
-
Fewer flicker bands under LED light. Better results in concerts, gyms, billboards, and virtual production volumes.
-
Better sync between cameras. Useful for spatial video and multi angle edits.
-
More reliable VFX plates. Less skew means easier tracking and cleaner composites.
What could change for your shoots
-
Handheld energy without the jello look.
-
Action shots that cut cleanly with cinema cameras.
-
Fewer takes lost to flicker.
-
A stronger case to use iPhone for fast paced paid work, social content, and run and gun documentary.
The honest tradeoffs
Global shutter can make each pixel hold a bit less charge. Very dark scenes are the challenge. Apple’s stack tries to protect light gathering and block stray light to keep low light quality stable. The balance will be clear once we see real footage.
What to watch next
-
Apple camera notes that hint at global shutter capture.
-
Sample clips that show fast pans with straight lines.
-
Tests under LED walls and stage lights.
-
Any mention of dynamic range, full well, and noise, since these are the pressure points.
Reality check
A patent shows intent. It does not give a ship date. Still, the design is practical, compact, and written with phones in mind. For filmmakers, the benefits are obvious the first time you pan or shoot under LEDs.
Apple’s wider iPhone filmmaking push
Apple’s global-shutter patent sits inside a bigger, camera-first roadmap we have been tracking on Y.M.CINEMA. For framing and optical tricks, see Apple moving prism patent iPhone filmmaking and the platform view in Apple iPhone patents reveal cinema camera technology. Together they sketch how Apple wants the phone to behave more like a compact cinema rig, with smarter optics and cleaner motion. Stabilization is a priority. Apple is exploring multi-axis sensor movement in Apple triple patent iPhone sensor shift system and a tougher mechanical approach in Apple’s new suspension system could redefine iPhone’s image stabilization. Those ideas pair naturally with global shutter. You lock the frame in time, then keep it rock steady in space. The intent is clear. Fewer ruined takes, even on boards, helmets, cars, and drones. Sharpness and rendering get attention too. Apple’s latest camera patent. The secret to smoother sharper iPhone filmmaking and Apple reinvents the iris. New patent reveals soft membrane aperture for future iPhone cameras point at better control of depth, bokeh, and motion texture. Add the dynamic range work in Apple just patented an image sensor with 20 stops of dynamic range and you get a picture of cleaner highlights and sturdier shadows, which is the base every grade needs. Sustained performance matters on set. Thermal and power are part of the plan. Apple’s active cooling patent may unlock the future of mobile cinematography and Apple’s new battery patent hints at small cameras with professional potential show how Apple expects longer, hotter takes while keeping noise and throttling under control. Taken together, this global-shutter design reads like the missing piece for an elite iPhone aimed at action sport filmmaking. Lock the frame in one instant. Stabilize it in hardware. Keep it cool and powered for long runs. Shape focus and exposure with smarter optics. That stack turns a phone into a dependable motion camera for creators who live in fast environments and need pro-level reliability.

Discussion and summary
Apple’s patent is a blueprint for bringing a true all-in-one capture sensor to phone size. The document shows a simple story told in Apple style. Build upward. Keep the light area big. Hide a tiny waiting room inside each pixel so the frame can freeze together. The stack has 3 stages that hand the charge upward. The middle stage is the parking spot. That is the novel move. It solves the classic question. Where do you safely store the image inside a tiny pixel without eating space or light. The filing also shows how Apple plans to make this practical at phone scale. Backside illumination for dense pixels. Deep trenches and corner placement to block stray light while the shutter is closed. Multiple gate shapes, ring and C and I and even hex like patterns, to pack millions of pixels tightly. Split pixels for autofocus so you keep fast focus behavior. Shared trenches between neighbors to save space. None of this is marketing fluff. It reads like manufacturing intent. Strategically, this patent fits Apple’s long game. Own the capture stack end to end. Sensor ideas that match Apple Silicon image processing. Physics choices that are friendly to thin phones. The message to the market is clear. Apple is not waiting for a supplier to hand them a phone ready global shutter. They are designing one that suits their cameras and their software. This has product positioning written all over it. Expect the first win to show up in an elite iPhone tier that speaks to working creators. Think action sport filmmakers, creators who chase motion under stadium lights, and teams that mount phones on cars, boards, helmets, and drones. Those users care about reliability first. This patent is about reliability. Freeze the frame inside the pixel. Read it on your schedule. Fewer ruined takes. Better sync between multiple modules. A cleaner base image for editing. Bottom line: The patent does not promise a date. It does show a complete, phone sized plan. If Apple follows this plan, the next elite iPhone becomes a safer camera for fast work and a stronger tool for creators who live in motion. And that’s a big deal for Apple’s iPhones.

Man, the switch from Android to iPhone is absolutely impending for me. Or at least a serving phone cos i love android system.
But man!! These sensor announcements everyday!!!
Any word on the size of this global shutter sensor?
Short answer. Not disclosed. The patent explains the global shutter pixel and in-pixel memory. It does not list sensor format or pixel pitch. We will update when hard specs surface.
If they can bring all this to fruition it’ll be a marvel!
Wonder if we’ll see it soon, or if we’re talking like iPhone 20 or beyond.