Back in 2021, Canon filed a fascinating patent that outlined a compact handheld camera with a built-in gimbal, detachable lenses, and a rear-facing LCD screen. It had all the ingredients of a revolutionary tool for solo filmmakers, vloggers, and content creators. And yet—years later—there’s still no sign of this product in the real world. Why not?

A Gimbal Camera With Canon’s Signature Twist
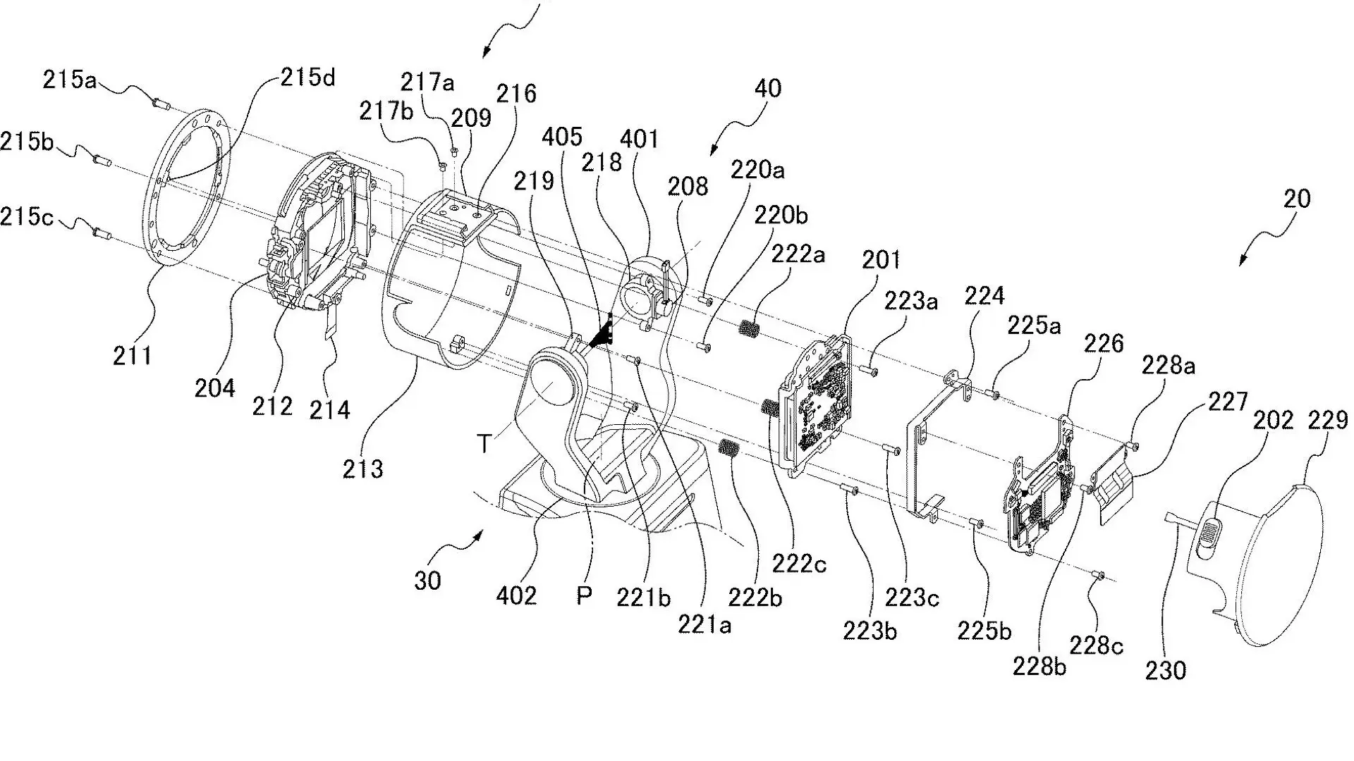
The patent (JP 2021-004930 A) introduced a modular design where a small digital imaging unit (complete with image sensor) could rotate freely on a gimbal axis and accept interchangeable lenses via a standard bayonet mount. A clever mechanical system allowed users to release the lens by sliding a knob in the opposite direction of the rotation, adding a thoughtful layer of security and ergonomics. Even more intriguing was the inclusion of a built-in LCD screen mounted to the grip, giving operators a clear rear-facing view, ideal for vlogging or handheld filming. Combine that with Canon’s optical experience and a hint of internal image stabilization, and you had something that could challenge DJI, Sony, or even smartphone rigs.

A Concept Ahead of Its Time?
Looking at today’s creator-driven market, the idea seems more relevant than ever. Cameras like the Sony ZV series, DJI Osmo Pocket, and Insta360 GO have created demand for compact, stabilized, modular shooters. Canon’s design could have been a compelling alternative, especially for those invested in Canon glass. So the question becomes: why didn’t it happen?

Did Canon Miss the Moment?
There are a few potential answers:
-
Market hesitation: Around 2019–2020, Canon was still prioritizing its EOS R system and rebuilding its mirrorless lineup. Diverting R&D into a niche new form factor may have seemed risky.
-
Manufacturing complexity: A modular gimbal-integrated camera with detachable lenses and a reliable locking system is far more complex than a smartphone accessory or a fixed-lens gimbal cam.
-
Internal conflict: Would this product cannibalize Canon’s compact cameras or PowerShot V-series plans?
-
Strategic silence: It’s also possible Canon is still developing this idea, perhaps under a different shell or in partnership with another brand.



The Real Question: Would You Buy It?
The bigger discussion is about vision versus execution. Canon had a sharp concept that aligned perfectly with creator trends. The mechanical design was elegant, the user experience intuitive, and the modularity opened doors for future growth. So what happened? And more importantly, if Canon revived this product today, would it be too late? Or right on time? This patent reminds us that some of the most innovative ideas never make it to market. Whether due to risk, timing, or internal priorities, Canon’s gimbal-lens hybrid never got its moment. But it remains a blueprint of what could have been, a missed opportunity that still feels oddly modern.


Already seen this post on thenewcamera.com before, well written once again